Imprime en 3D un cañón de bronce del siglo XVIII
Tutorial para construir una maqueta de cañón realista
Información del proyecto
- Categoría: Impresión 3D
- Cliente: Proyecto personal
- Fecha: Octubre 2023
Este tutorial se centra en la impresión 3D y el montaje del cañón. La fase de modelado 3D, aunque brevemente esbozada, queda fuera del alcance de este tutorial.
Los archivos 3D .stl de descarga gratuita son exclusivamente para uso personal, educativo y no comercial. Si utiliza los archivos, le agradeceremos que incluya un enlace a esta página, que nos siga en Twitter o que nos mencione.
Descargar los STLs del cañón
Etapa 1 Investigación
Se recurrió a Internet para investigar diversos diseños de cañones y su construcción. Se eligió este diseño de cañón de bronce del siglo XVIII.

Etapa 2 Creación de imágenes de referencia
A partir de las fotos de la investigación, se esbozaron en Illustrator vistas ortográficas (frontal, trasera, lateral, superior, etc.). Estas vistas se importaron como imágenes de referencia en Blender para ayudar a modelar los componentes, colocando las vistas frontal, superior y lateral en sus respectivos planos.

Etapa 3 Modelado 3D y creación de archivos .STL
A partir de las imágenes de referencia, se modelaron los componentes del cañón mediante modelado poligonal y superficies de subdivisión en Blender.
A continuación, cada componente se exportó individualmente como archivo .STL directamente desde Blender, listo para su uso en el software de impresión 3D.

Etapa 4 Corte e impresión 3D del modelo
Importa los archivos .STL al software de impresión 3D de tu elección. En este caso se utilizó PrusaSlicer.
Los componentes pueden escalarse al tamaño deseado.
Para el modelo mostrado, el cañón se imprimió utilizando filamento Bronze Metalfill y el carro se imprimió utilizando filamento Woodfill con una altura de capa de 0,2 mm y un relleno del 20%.
Casi todos los componentes del modelo pueden imprimirse sin soportes. Dependiendo del tipo de impresora 3D (resina o filamento), es posible que necesite utilizar soportes para el cañón cilíndrico.
Para obtener mejores resultados, lije las piezas. Si va a pintar/barnizar los componentes, ahora sería un buen momento para hacerlo.
El cañón de bronce Metalfill se lijó y luego se cepilló y los componentes del carro Woodfill se lijaron, se tiñeron y finalmente se barnizaron.





Etapa 5 Montaje de las piezas impresas en 3D
Aunque el modelo de cañón impreso en 3D es bastante intuitivo de construir, he preparado unas instrucciones ilustradas para guiarte en el montaje. Para unir las piezas se utilizó superglue. (Como los pasadores para las ruedas habrían sido muy pequeños y frágiles de imprimir, me limité a cortar y doblar unos clips e insertarlos por los agujeros del eje).
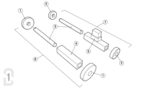
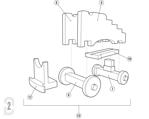
Lista de piezas del cañón:
- 1 - Rueda delantera x2
- 2 - Rueda trasera x2
- 3 - Eje x2
- 4 - Árbol del eje delantero
- 5 - Árbol del eje trasero
- 6 - Conjunto de truck delantero
- 7 - Conjunto de truck trasero
- 8 - Gualdera izquierda
- 9 - Gualdera derecha
- 10 - Almohada
- 11 - Tablón frontal
- 12 - Conjunto del carro
- 13 - Barril de cañón
- 14 - Junta "capsquare" x2
- 15 - "Capsquare" x2
- 16 - Cáncamo "capsquare" x2
- 17 - Cuña
- 18 - Conjunto del cañón
- 19 - Placa de 2 tornillos x2
- 20 - Anillo x2
- 21 - Placa del anillo x2
- 22 - Placa de 1 tornillo x2
- 23 - Tornillo x6

Etapa 6 ¡Siéntate y disfruta de tu trabajo!
Póngase en contacto con nosotros para obtener más información sobre nuestros servicios de impresión 3D y cómo pueden beneficiarle a usted y a su empresa.
Si te ha gustado este tutorial, puedes encontrar más como éste en twitter@newskindesign and @thelink3ddotcom.

Solicite su presupuesto gratuito hoy mismo
Háblenos de su proyecto y de los servicios de diseño que necesita. Nos pondremos en contacto con usted con más información y un presupuesto.
Póngase en contacto