Ilustración técnica y delineación en Madrid
Ilustración técnica y dibujos para diseños registrados y patentes
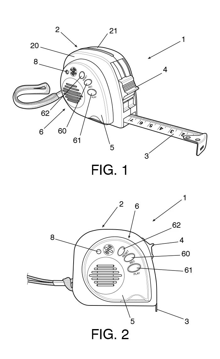
En New Skin Design, nuestros dibujantes altamente cualificados se especializan en la entrega de ilustraciones técnicas precisas con un enfoque en la protección de la Propiedad Intelectual (figuras para Solicitudes de Patentes, Modelos de Utilidad y Diseños Registrados/Patentes de Diseño), Manuales de Usuario y CAD. Además de con empresas y particulares, actualmente trabajamos con Agentes Europeos de Patentes y Marcas en el Reino Unido y España.
Nuestra experiencia garantiza el cumplimiento de las normas europeas e internacionales, incluidas las de la EUIPO y la OEP. Tanto si necesita planos detallados, instrucciones de montaje claras o dibujos formales para la protección de productos, nuestras ilustraciones de alta calidad le ayudarán a asegurar sus ideas y mejorar la comprensión de los usuarios.
También ofrecemos servicios de diseño de productos e impresión 3D.
Nuestro trabajo de dibujo técnico
Dibujos formales para la protección de la propiedad intelectual (patentes, modelos de utilidad y diseños registrados)
Proteja su idea frente al robo de propiedad intelectual preparando dibujos formales en los formatos requeridos para su solicitud ante los organismos pertinentes, tanto dentro de la Unión Europea (EUIPO, Oficina Europea de Patentes) como a escala internacional.
Instrucciones del producto y guías de usuario
Las instrucciones con dibujos lineales son una forma eficaz de guiar visualmente al usuario. Pueden ilustrar cómo utilizar correctamente un producto o cómo montar un mueble en el orden correcto.
Dibujos de ingeniería y CAD
Los planos técnicos o dibujos de ingeniería pueden prepararse a partir del material proporcionado por el cliente o mediante nuestro proceso de diseño de productos y 3D.

Solicite su presupuesto gratuito hoy mismo
Háblenos de su proyecto y de los servicios de diseño que necesita. Nos pondremos en contacto con usted con más información y un presupuesto.
Póngase en contacto